?

實用專利
一種用于選擇性催化還原脫硝系統的靜態混合器
日期:2020-09-14 15:03瀏覽次數:
說 明 書 摘 要
本實用新型提供一種用于選擇性催化還原脫硝系統的靜態混合器,包括靜態混合器主體,所述靜態混合器主體的一側固定安裝有過濾箱,所述過濾箱的內部設置有過濾組件,所述過濾箱上且位于過濾組件的一側設置有震動組件,涉及靜態混合器脫硝領域。本實用新型通過在靜態混合器主體的進氣端設置過濾箱,通過過濾組件可以對煙氣中的固體顆粒進行濾除,防止進入到今天混合器主體內部,不易清理,且通過設置震動組件,通過氣流進入使的動力推動葉輪帶動推動軸往復推動濾芯,使濾芯上粘附的固定顆粒容易掉落,延長濾網的使用壽命,且掉落下的固定顆粒通過收集盒進行集中收集,且便于對收集盒進行拆卸清理,使用方便。

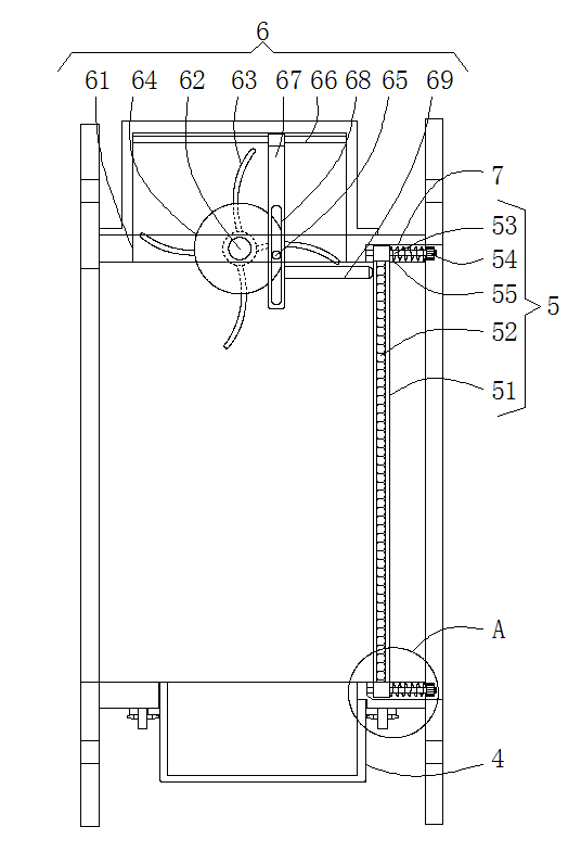
1.一種用于選擇性催化還原脫硝系統的靜態混合器,其特征在于:包括靜態混合器主體(1),所述靜態混合器主體(1)的一側固定安裝有過濾箱(2),所述過濾箱(2)的內部設置有過濾組件(5),所述過濾箱(2)上且位于過濾組件(5)的一側設置有震動組件(6),所述震動組件(6)包括通孔(61),所述靜態混合器主體(1)的頂部且位于通孔(61)的外部固定連接有密封盒(3),所述通孔(61)內壁的一側轉動連接有轉動軸(62),所述轉動軸(62)的表面套設有葉輪(63),所述轉動軸(62)的表面且位于所述葉輪(63)的前側套設有轉動盤(64),所述轉動盤(64)正面的一側固定連接有帶動軸(65),所述密封盒(3)內壁的兩側之間固定連接定位桿(66),所述定位桿(66)的表面套設有移動板(67),所述移動板(67)上開設有滑槽(68),所述帶動軸(65)的一端通過滑槽(68)貫穿移動板(67),所述移動板(67)的一側固定連接有推動軸(69),所述過濾箱(2)的底部連通有收集盒(4)。
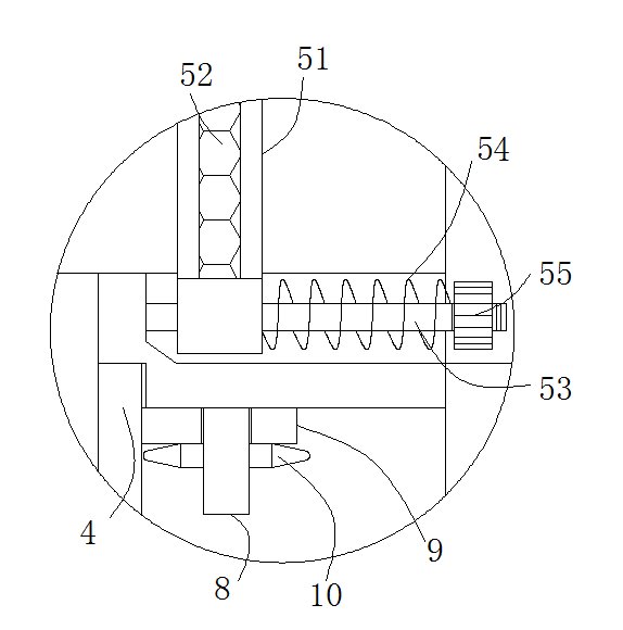
2.根據權利要求1所述的用于選擇性催化還原脫硝系統的靜態混合器,其特征在于:所述過濾組件(5)包括固定框(51),所述固定框(51)的內部固定連接有濾芯(52),所述固定框(51)頂部和底部均貫穿有定位桿(66),所述定位桿(66)的表面且位于固定框(51)的一側套設有彈性件(55)。
3.根據權利要求1所述的用于選擇性催化還原脫硝系統的靜態混合器,其特征在于:所述定位桿(66)的一端設置有螺紋,所述定位桿(66)的一端且位于彈性件(55)的一側螺紋連接有螺母(54)。
4.根據權利要求1所述的用于選擇性催化還原脫硝系統的靜態混合器,其特征在于:所述過濾箱(2)內壁頂部和底部的一側均開設有容納槽(7),兩個定位桿(66)分別位于兩個容納槽(7)的內部,兩個定位桿(66)的一端分別固定于兩個容納槽(7)內壁的一側。
5.根據權利要求1所述的用于選擇性催化還原脫硝系統的靜態混合器,其特征在于:所述收集盒(4)的兩側均固定連接有固定塊(9),所述固定塊(9)上開設有固定孔,所述收集盒(4)表面的上側粘接有密封墊。
6.根據權利要求1所述的用于選擇性催化還原脫硝系統的靜態混合器,其特征在于:所述過濾箱(2)的底部且位于收集盒(4)的兩側均固定連接有螺紋固定軸(8),所述螺紋固定軸(8)的表面螺紋連接有星型螺母(10)。
2.根據權利要求1所述的用于選擇性催化還原脫硝系統的靜態混合器,其特征在于:所述過濾組件(5)包括固定框(51),所述固定框(51)的內部固定連接有濾芯(52),所述固定框(51)頂部和底部均貫穿有定位桿(66),所述定位桿(66)的表面且位于固定框(51)的一側套設有彈性件(55)。
3.根據權利要求1所述的用于選擇性催化還原脫硝系統的靜態混合器,其特征在于:所述定位桿(66)的一端設置有螺紋,所述定位桿(66)的一端且位于彈性件(55)的一側螺紋連接有螺母(54)。
4.根據權利要求1所述的用于選擇性催化還原脫硝系統的靜態混合器,其特征在于:所述過濾箱(2)內壁頂部和底部的一側均開設有容納槽(7),兩個定位桿(66)分別位于兩個容納槽(7)的內部,兩個定位桿(66)的一端分別固定于兩個容納槽(7)內壁的一側。
5.根據權利要求1所述的用于選擇性催化還原脫硝系統的靜態混合器,其特征在于:所述收集盒(4)的兩側均固定連接有固定塊(9),所述固定塊(9)上開設有固定孔,所述收集盒(4)表面的上側粘接有密封墊。
6.根據權利要求1所述的用于選擇性催化還原脫硝系統的靜態混合器,其特征在于:所述過濾箱(2)的底部且位于收集盒(4)的兩側均固定連接有螺紋固定軸(8),所述螺紋固定軸(8)的表面螺紋連接有星型螺母(10)。
一種用于選擇性催化還原脫硝系統的靜態混合器
技術領域
本實用新型涉及靜態混合器脫硝領域,尤其涉及一種用于選擇性催化還原脫硝系統的靜態混合器。
背景技術
靜態混合器是一種沒有運動部件的高效混合設備,其基本工作機理是利用固定在管內的混合單元體改變流體在管內的流動狀態,以達到不同流體之間良好分散和充分混合的目的。該設備應用廣泛,不可拆卸。
目前對于煙氣中脫硝部分使用靜態混合器配合催化劑進行脫硝處理,但煙氣中通常攜帶有大量的固體顆粒,在進入到靜態混合器內部后,內部結構容易粘附大量的固定顆粒,且不易清理。
實用新型內容
本實用新型的目的在于提供一種用于選擇性催化還原脫硝系統的靜態混合器,以解決上述技術問題。
本實用新型為解決上述技術問題,采用以下技術方案來實現:一種用于選擇性催化還原脫硝系統的靜態混合器,包括靜態混合器主體,所述靜態混合器主體的一側固定安裝有過濾箱,所述過濾箱的內部設置有過濾組件,所述過濾箱上且位于過濾組件的一側設置有震動組件,所述震動組件包括通孔,所述靜態混合器主體的頂部且位于通孔的外部固定連接有密封盒,所述通孔內壁的一側轉動連接有轉動軸,所述轉動軸的表面套設有葉輪,所述轉動軸的表面且位于所述葉輪的前側套設有轉動盤,所述轉動盤正面的一側固定連接有帶動軸,所述密封盒內壁的兩側之間固定連接定位桿,所述定位桿的表面套設有移動板,所述移動板上開設有滑槽,所述帶動軸的一端通過滑槽貫穿移動板,所述移動板的一側固定連接有推動軸,所述過濾箱的底部連通有收集盒。
進一步地,所述過濾組件包括固定框,所述固定框的內部固定連接有濾芯,所述固定框頂部和底部均貫穿有定位桿,所述定位桿的表面且位于固定框的一側套設有彈性件。
通過設置彈性件,當推動軸敲擊濾芯時,固定框壓縮彈性件進行緩沖,可以防止過濾組件被損壞。
進一步地,所述定位桿的一端設置有螺紋,所述定位桿的一端且位于彈性件的一側螺紋連接有螺母。
進一步地,所述過濾箱內壁頂部和底部的一側均開設有容納槽,兩個定位桿分別位于兩個容納槽的內部,兩個定位桿的一端分別固定于兩個容納槽內壁的一側。
通過設置容納槽,使固定框的頂部和底部位于容納槽內部,使濾芯可以更大面積的進行過濾。
進一步地,所述收集盒的兩側均固定連接有固定塊,所述固定塊上開設有固定孔,所述收集盒表面的上側粘接有密封墊。
通過粘接密封墊,保證收集盒與過濾箱之間的密封性。
進一步地,所述過濾箱的底部且位于收集盒的兩側均固定連接有螺紋固定軸,所述螺紋固定軸的表面螺紋連接有星型螺母。
本實用新型的有益效果是:
本實用新型通過在靜態混合器主體的進氣端設置過濾箱,通過過濾組件可以對煙氣中的固體顆粒進行濾除,防止進入到今天混合器主體內部,不易清理,且通過設置震動組件,通過氣流進入使的動力推動葉輪帶動推動軸往復推動濾芯,使濾芯上粘附的固定顆粒容易掉落,延長濾網的使用壽命,且掉落下的固定顆粒通過收集盒進行集中收集,且便于對收集盒進行拆卸清理,使用方便。
附圖說明
圖1為本實用新型整體的結構示意圖;
圖2為本實用新型過濾箱的剖視圖;
圖3為本實用新型的圖2中A部的放大圖。
附圖標記:1-靜態混合器主體、2-過濾箱、3-密封盒、4-收集盒、5-過濾組件、51-固定框、52-濾芯、53-滑桿、54-螺帽、55-彈性件、6-震動組件、61-通孔、62-轉動軸、63-葉輪、64-轉動盤、65-帶動軸、66-定位桿、67-移動板、68-滑槽、69-推動軸、7-容納槽、8-螺紋固定軸、9-固定塊、10-星型螺母。
具體實施方式
為了使本實用新型實現的技術手段、創作特征、達成目的與功效易于明白了解,下面結合具體實施例和附圖,進一步闡述本實用新型,但下述實施例僅僅為本實用新型的優選實施例,并非全部?;趯嵤┓绞街械膶嵤├绢I域技術人員在沒有做出創造性勞動的前提下所獲得其它實施例,都屬于本發明的保護范圍。
下面結合附圖描述本實用新型的具體實施例。
如圖1-3所示,一種用于選擇性催化還原脫硝系統的靜態混合器,包括靜態混合器主體1,所述靜態混合器主體1的一側固定安裝有過濾箱2,所述過濾箱2的內部設置有過濾組件5,所述過濾箱2上且位于過濾組件5的一側設置有震動組件6,所述震動組件6包括通孔61,所述靜態混合器主體1的頂部且位于通孔61的外部固定連接有密封盒3,所述通孔61內壁的一側轉動連接有轉動軸62,所述轉動軸62的表面套設有葉輪63,所述轉動軸62的表面且位于所述葉輪63的前側套設有轉動盤64,所述轉動盤64正面的一側固定連接有帶動軸65,所述密封盒3內壁的兩側之間固定連接定位桿66,所述定位桿66的表面套設有移動板67,所述移動板67上開設有滑槽68,所述帶動軸65的一端通過滑槽68貫穿移動板67,所述移動板67的一側固定連接有推動軸69,所述過濾箱2的底部連通有收集盒4。
移動板67位于轉動軸62的前側,轉動軸62的一端貫穿密封盒3的內壁延伸至密封盒3的外部,轉動軸62的表面且位于過濾箱2內壁的兩側均固定連接有限位環,且轉動軸62與密封盒3貫穿處進行機械密封。
所述過濾組件5包括固定框51,所述固定框51的內部固定連接有濾芯52,所述固定框51頂部和底部均貫穿有定位桿66,所述定位桿66的表面且位于固定框51的一側套設有彈性件55。
固定框51的頂部和底部均開設有與定位桿相適配的安裝孔。
所述定位桿66的一端設置有螺紋,所述定位桿66的一端且位于彈性件55的一側螺紋連接有螺母54。
螺母54表面設置若干撥齒。
所述過濾箱2內壁頂部和底部的一側均開設有容納槽7,兩個定位桿66分別位于兩個容納槽7的內部,兩個定位桿66的一端分別固定于兩個容納槽7內壁的一側。
所述收集盒4的兩側均固定連接有固定塊9,所述固定塊9上開設有固定孔,所述收集盒4表面的上側粘接有密封墊。
所述過濾箱2的底部且位于收集盒4的兩側均固定連接有螺紋固定軸8,所述螺紋固定軸8的表面螺紋連接有星型螺母10。
固定孔孔徑與螺紋固定軸8的直徑大小相同。
工作原理:通過在靜態混合器主體1的進氣端通過法蘭固定連接過濾箱2,當煙氣進行脫硝處理時煙氣首先進入到過濾箱2內部,經過過濾組件5中濾芯52對煙氣中的固定顆粒進行過濾然后進入到靜態混合器主體1內部。
同時當煙氣進入過濾箱2內部時氣流推動葉輪63的下側,從而使葉輪63轉動,葉輪63轉動從而帶動轉動軸62轉動,帶動軸65帶動轉動盤64轉動,轉動盤64帶動邊側的帶動軸65沿轉動盤的中心為圓心轉動,且帶動軸65沿移動板67上滑槽68滑動,從而帶動移動板67左右往復移動,移動板67帶動推動軸69左右往復移動,推動軸69不斷的對濾芯進行敲擊,從而可以使濾芯52上粘附的固體顆粒容易掉落到收集盒4內部,延長濾芯52的使用壽命;
且當推動軸69敲擊濾芯52時,固定框51壓縮彈性件55進行緩沖,可以防止過濾組件5被損壞;
掉落的固定顆粒掉落到收集盒4內部進行收集;
當需要對收集盒4進行清理時,通過將星型螺母10從螺紋固定軸8上擰下,即可將收集盒4取下進行清理,安裝時,對應將收集盒4上側插入到過濾箱2底部的裝配孔內部,且收集盒4兩側的固定塊9上的固定孔對應插入到螺紋固定軸8上,然后通過星型螺母10固定螺緊;
當需要對濾芯進行清理或者更換時,可以將過濾箱2從靜態混合器主體1上拆下,然后將螺帽54從滑桿53上擰下,然后可以將固定框51連同濾芯52取下,安裝時,將固定框51上下側的安裝孔對應滑桿53插入然后套入彈性件55,再擰緊螺帽54。
在本實用新型中,除非另有明確的規定和限定,第一特征在第二特征之 “上”或之“下”可以包括第一和第二特征直接接觸,也可以包括第一和第二特征不是直接接觸而是通過它們之間的另外的特征接觸。而且,第一特征在第二特征“之上”、“上方”和“上面”包括第一特征在第二特征正上方和斜上方,或僅僅表示第一特征水平高度高于第二特征。第一特征在第二特征“之下”、“下方”和“下面”包括第一特征在第二特征正下方和斜下方,或僅僅表示第一特征水平高度小于第二特征。
以上顯示和描述了本實用新型的基本原理、主要特征和本實用新型的優點。本行業的技術人員應該了解,本實用新型不受上述實施例的限制,上述實施例和說明書中描述的僅為本實用新型的優選例,并不用來限制本實用新型,在不脫離本實用新型精神和范圍的前提下,本實用新型還會有各種變化和改進,這些變化和改進都落入要求保護的本實用新型范圍內。本實用新型要求保護范圍由所附的權利要求書及其等效物界定。
技術領域
本實用新型涉及靜態混合器脫硝領域,尤其涉及一種用于選擇性催化還原脫硝系統的靜態混合器。
背景技術
靜態混合器是一種沒有運動部件的高效混合設備,其基本工作機理是利用固定在管內的混合單元體改變流體在管內的流動狀態,以達到不同流體之間良好分散和充分混合的目的。該設備應用廣泛,不可拆卸。
目前對于煙氣中脫硝部分使用靜態混合器配合催化劑進行脫硝處理,但煙氣中通常攜帶有大量的固體顆粒,在進入到靜態混合器內部后,內部結構容易粘附大量的固定顆粒,且不易清理。
實用新型內容
本實用新型的目的在于提供一種用于選擇性催化還原脫硝系統的靜態混合器,以解決上述技術問題。
本實用新型為解決上述技術問題,采用以下技術方案來實現:一種用于選擇性催化還原脫硝系統的靜態混合器,包括靜態混合器主體,所述靜態混合器主體的一側固定安裝有過濾箱,所述過濾箱的內部設置有過濾組件,所述過濾箱上且位于過濾組件的一側設置有震動組件,所述震動組件包括通孔,所述靜態混合器主體的頂部且位于通孔的外部固定連接有密封盒,所述通孔內壁的一側轉動連接有轉動軸,所述轉動軸的表面套設有葉輪,所述轉動軸的表面且位于所述葉輪的前側套設有轉動盤,所述轉動盤正面的一側固定連接有帶動軸,所述密封盒內壁的兩側之間固定連接定位桿,所述定位桿的表面套設有移動板,所述移動板上開設有滑槽,所述帶動軸的一端通過滑槽貫穿移動板,所述移動板的一側固定連接有推動軸,所述過濾箱的底部連通有收集盒。
進一步地,所述過濾組件包括固定框,所述固定框的內部固定連接有濾芯,所述固定框頂部和底部均貫穿有定位桿,所述定位桿的表面且位于固定框的一側套設有彈性件。
通過設置彈性件,當推動軸敲擊濾芯時,固定框壓縮彈性件進行緩沖,可以防止過濾組件被損壞。
進一步地,所述定位桿的一端設置有螺紋,所述定位桿的一端且位于彈性件的一側螺紋連接有螺母。
進一步地,所述過濾箱內壁頂部和底部的一側均開設有容納槽,兩個定位桿分別位于兩個容納槽的內部,兩個定位桿的一端分別固定于兩個容納槽內壁的一側。
通過設置容納槽,使固定框的頂部和底部位于容納槽內部,使濾芯可以更大面積的進行過濾。
進一步地,所述收集盒的兩側均固定連接有固定塊,所述固定塊上開設有固定孔,所述收集盒表面的上側粘接有密封墊。
通過粘接密封墊,保證收集盒與過濾箱之間的密封性。
進一步地,所述過濾箱的底部且位于收集盒的兩側均固定連接有螺紋固定軸,所述螺紋固定軸的表面螺紋連接有星型螺母。
本實用新型的有益效果是:
本實用新型通過在靜態混合器主體的進氣端設置過濾箱,通過過濾組件可以對煙氣中的固體顆粒進行濾除,防止進入到今天混合器主體內部,不易清理,且通過設置震動組件,通過氣流進入使的動力推動葉輪帶動推動軸往復推動濾芯,使濾芯上粘附的固定顆粒容易掉落,延長濾網的使用壽命,且掉落下的固定顆粒通過收集盒進行集中收集,且便于對收集盒進行拆卸清理,使用方便。
附圖說明
圖1為本實用新型整體的結構示意圖;
圖2為本實用新型過濾箱的剖視圖;
圖3為本實用新型的圖2中A部的放大圖。
附圖標記:1-靜態混合器主體、2-過濾箱、3-密封盒、4-收集盒、5-過濾組件、51-固定框、52-濾芯、53-滑桿、54-螺帽、55-彈性件、6-震動組件、61-通孔、62-轉動軸、63-葉輪、64-轉動盤、65-帶動軸、66-定位桿、67-移動板、68-滑槽、69-推動軸、7-容納槽、8-螺紋固定軸、9-固定塊、10-星型螺母。
具體實施方式
為了使本實用新型實現的技術手段、創作特征、達成目的與功效易于明白了解,下面結合具體實施例和附圖,進一步闡述本實用新型,但下述實施例僅僅為本實用新型的優選實施例,并非全部?;趯嵤┓绞街械膶嵤├绢I域技術人員在沒有做出創造性勞動的前提下所獲得其它實施例,都屬于本發明的保護范圍。
下面結合附圖描述本實用新型的具體實施例。
如圖1-3所示,一種用于選擇性催化還原脫硝系統的靜態混合器,包括靜態混合器主體1,所述靜態混合器主體1的一側固定安裝有過濾箱2,所述過濾箱2的內部設置有過濾組件5,所述過濾箱2上且位于過濾組件5的一側設置有震動組件6,所述震動組件6包括通孔61,所述靜態混合器主體1的頂部且位于通孔61的外部固定連接有密封盒3,所述通孔61內壁的一側轉動連接有轉動軸62,所述轉動軸62的表面套設有葉輪63,所述轉動軸62的表面且位于所述葉輪63的前側套設有轉動盤64,所述轉動盤64正面的一側固定連接有帶動軸65,所述密封盒3內壁的兩側之間固定連接定位桿66,所述定位桿66的表面套設有移動板67,所述移動板67上開設有滑槽68,所述帶動軸65的一端通過滑槽68貫穿移動板67,所述移動板67的一側固定連接有推動軸69,所述過濾箱2的底部連通有收集盒4。
移動板67位于轉動軸62的前側,轉動軸62的一端貫穿密封盒3的內壁延伸至密封盒3的外部,轉動軸62的表面且位于過濾箱2內壁的兩側均固定連接有限位環,且轉動軸62與密封盒3貫穿處進行機械密封。
所述過濾組件5包括固定框51,所述固定框51的內部固定連接有濾芯52,所述固定框51頂部和底部均貫穿有定位桿66,所述定位桿66的表面且位于固定框51的一側套設有彈性件55。
固定框51的頂部和底部均開設有與定位桿相適配的安裝孔。
所述定位桿66的一端設置有螺紋,所述定位桿66的一端且位于彈性件55的一側螺紋連接有螺母54。
螺母54表面設置若干撥齒。
所述過濾箱2內壁頂部和底部的一側均開設有容納槽7,兩個定位桿66分別位于兩個容納槽7的內部,兩個定位桿66的一端分別固定于兩個容納槽7內壁的一側。
所述收集盒4的兩側均固定連接有固定塊9,所述固定塊9上開設有固定孔,所述收集盒4表面的上側粘接有密封墊。
所述過濾箱2的底部且位于收集盒4的兩側均固定連接有螺紋固定軸8,所述螺紋固定軸8的表面螺紋連接有星型螺母10。
固定孔孔徑與螺紋固定軸8的直徑大小相同。
工作原理:通過在靜態混合器主體1的進氣端通過法蘭固定連接過濾箱2,當煙氣進行脫硝處理時煙氣首先進入到過濾箱2內部,經過過濾組件5中濾芯52對煙氣中的固定顆粒進行過濾然后進入到靜態混合器主體1內部。
同時當煙氣進入過濾箱2內部時氣流推動葉輪63的下側,從而使葉輪63轉動,葉輪63轉動從而帶動轉動軸62轉動,帶動軸65帶動轉動盤64轉動,轉動盤64帶動邊側的帶動軸65沿轉動盤的中心為圓心轉動,且帶動軸65沿移動板67上滑槽68滑動,從而帶動移動板67左右往復移動,移動板67帶動推動軸69左右往復移動,推動軸69不斷的對濾芯進行敲擊,從而可以使濾芯52上粘附的固體顆粒容易掉落到收集盒4內部,延長濾芯52的使用壽命;
且當推動軸69敲擊濾芯52時,固定框51壓縮彈性件55進行緩沖,可以防止過濾組件5被損壞;
掉落的固定顆粒掉落到收集盒4內部進行收集;
當需要對收集盒4進行清理時,通過將星型螺母10從螺紋固定軸8上擰下,即可將收集盒4取下進行清理,安裝時,對應將收集盒4上側插入到過濾箱2底部的裝配孔內部,且收集盒4兩側的固定塊9上的固定孔對應插入到螺紋固定軸8上,然后通過星型螺母10固定螺緊;
當需要對濾芯進行清理或者更換時,可以將過濾箱2從靜態混合器主體1上拆下,然后將螺帽54從滑桿53上擰下,然后可以將固定框51連同濾芯52取下,安裝時,將固定框51上下側的安裝孔對應滑桿53插入然后套入彈性件55,再擰緊螺帽54。
在本實用新型中,除非另有明確的規定和限定,第一特征在第二特征之 “上”或之“下”可以包括第一和第二特征直接接觸,也可以包括第一和第二特征不是直接接觸而是通過它們之間的另外的特征接觸。而且,第一特征在第二特征“之上”、“上方”和“上面”包括第一特征在第二特征正上方和斜上方,或僅僅表示第一特征水平高度高于第二特征。第一特征在第二特征“之下”、“下方”和“下面”包括第一特征在第二特征正下方和斜下方,或僅僅表示第一特征水平高度小于第二特征。
以上顯示和描述了本實用新型的基本原理、主要特征和本實用新型的優點。本行業的技術人員應該了解,本實用新型不受上述實施例的限制,上述實施例和說明書中描述的僅為本實用新型的優選例,并不用來限制本實用新型,在不脫離本實用新型精神和范圍的前提下,本實用新型還會有各種變化和改進,這些變化和改進都落入要求保護的本實用新型范圍內。本實用新型要求保護范圍由所附的權利要求書及其等效物界定。

圖 1

圖 2

圖 3



