?

實用專利
一種脫銷劑干燥廢氣處理裝置
日期:2020-09-14 15:05瀏覽次數:
說 明 書 摘 要
本實用新型提供一種脫銷劑干燥廢氣處理裝置,涉及環保領域,包括除塵箱和水箱,所述除塵箱內表面的底部開設有第一連接槽,所述除塵箱外表面的底部固定連接有集水斗,所述集水斗的底部固定連接有第一連接管,所述第一連接管的一端延伸至所述水箱的內部,所述第一連接管外表面的中間固定連接有卡接組件,所述卡接組件的內部設置有過濾組件。本實用新型通過在第一連接管中間位置設置卡接組件和過濾組件,過濾組件可對第一連接管中的廢水進行過濾,避免水夾雜著雜質直接進入水泵中,對水泵造成損害,影響水泵的正常使用,而濾網過濾下來的雜質則可進入集料箱中,避免雜質過多,堵塞第一連接管,影響水回流進水箱中。

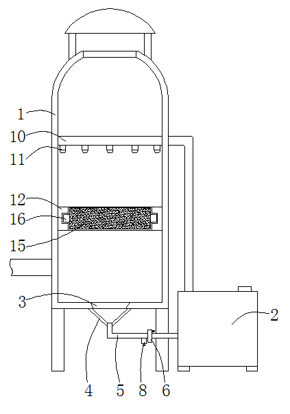
1.一種脫銷劑干燥廢氣處理裝置,其特征在于:包括除塵箱(1)和水箱(2),所述除塵箱(1)內表面的底部開設有第一連接槽(3),所述除塵箱(1)外表面的底部固定連接有集水斗(4),所述集水斗(4)的底部固定連接有第一連接管(5),所述第一連接管(5)的一端延伸至所述水箱(2)的內部,所述第一連接管(5)外表面的中間固定連接有卡接組件(6),所述卡接組件(6)的內部設置有過濾組件(7),所述過濾組件(7)包括第一連接塊(71),所述第一連接塊(71)的底部固定連接有濾網(72),所述第一連接塊(71)的一側開設有卡槽(73),所述第一連接管(5)外表面的底部且位于所述卡接組件(6)的左側固定連接有集料箱(8),所述集料箱(8)底部的中間固定連接有出料管(9),所述水箱(2)的頂部固定連接有第二連接管(10),所述第二連接管(10)的一端貫穿所述除塵箱(1)且延伸至所述除塵箱(1)的內部,所述第二連接管(10)外表面的底部固定連接有噴頭(11)。
2.根據權利要求1所述的脫銷劑干燥廢氣處理裝置,其特征在于:所述所述卡接組件(6)包括第一固定環(61),所述第一固定環(61)的內表面于所述第一連接管(5)固定連接,所述第一固定環(61)頂部的中間開設有放置槽(62),所述過濾組件(7)設置于所述放置槽(62)的內部。
3.根據權利要求2所述的脫銷劑干燥廢氣處理裝置,其特征在于:所述第一固定環(61)外表面的右側設置有卡桿(63),所述卡桿(63)的一端貫穿所述第一固定環(61)且延伸至所述卡槽(73)的內部。
4.根據權利要求3所述的脫銷劑干燥廢氣處理裝置,其特征在于:所述卡桿(63)表面的右側固定連接有固定板(64),所述固定板(64)與所述第一固定環(61)的右側之間且位于所述卡桿(63)的表面固定連接有彈簧(65)。
5.根據權利要求1所述的脫銷劑干燥廢氣處理裝置,其特征在于:所述除塵箱(1)的內部且位于所述第二連接管(10)的底部固定連接有第二固定環(12),所述第二固定環(12)內表面的左右兩側均開設有弧形槽(13)。
6.根據權利要求5所述的脫銷劑干燥廢氣處理裝置,其特征在于:所述第二固定環(12)頂部的左右兩側均開設有第二連接槽(14),所述第二連接槽(14)內表面的一側與所述弧形槽(13)連通。
7.根據權利要求6所述的脫銷劑干燥廢氣處理裝置,其特征在于:所述第二固定環(12)的內部設置有活性炭板(15),所述活性炭板(15)左右兩側的中間均固定連接有第二連接塊(16),所述第二連接塊(16)的一端延伸至所述弧形槽(13)的內部。
2.根據權利要求1所述的脫銷劑干燥廢氣處理裝置,其特征在于:所述所述卡接組件(6)包括第一固定環(61),所述第一固定環(61)的內表面于所述第一連接管(5)固定連接,所述第一固定環(61)頂部的中間開設有放置槽(62),所述過濾組件(7)設置于所述放置槽(62)的內部。
3.根據權利要求2所述的脫銷劑干燥廢氣處理裝置,其特征在于:所述第一固定環(61)外表面的右側設置有卡桿(63),所述卡桿(63)的一端貫穿所述第一固定環(61)且延伸至所述卡槽(73)的內部。
4.根據權利要求3所述的脫銷劑干燥廢氣處理裝置,其特征在于:所述卡桿(63)表面的右側固定連接有固定板(64),所述固定板(64)與所述第一固定環(61)的右側之間且位于所述卡桿(63)的表面固定連接有彈簧(65)。
5.根據權利要求1所述的脫銷劑干燥廢氣處理裝置,其特征在于:所述除塵箱(1)的內部且位于所述第二連接管(10)的底部固定連接有第二固定環(12),所述第二固定環(12)內表面的左右兩側均開設有弧形槽(13)。
6.根據權利要求5所述的脫銷劑干燥廢氣處理裝置,其特征在于:所述第二固定環(12)頂部的左右兩側均開設有第二連接槽(14),所述第二連接槽(14)內表面的一側與所述弧形槽(13)連通。
7.根據權利要求6所述的脫銷劑干燥廢氣處理裝置,其特征在于:所述第二固定環(12)的內部設置有活性炭板(15),所述活性炭板(15)左右兩側的中間均固定連接有第二連接塊(16),所述第二連接塊(16)的一端延伸至所述弧形槽(13)的內部。
一種脫銷劑干燥廢氣處理裝置
技術領域
本實用新型涉及環保領域,尤其涉及一種脫銷劑干燥廢氣處理裝置。
背景技術
廢氣處理又稱廢氣凈化,廢氣處理指的是針對工業場所、工廠車間產生的廢氣在對外排放前進行預處理,以達到國家廢氣對外排放的標準的工作,一般廢氣處理包括了有機廢氣處理、粉塵廢氣處理、酸堿廢氣處理、異味廢氣處理和空氣殺菌消毒凈化等方面。
脫銷劑干燥廢氣處理裝置是一種用于處理脫銷劑干燥廢氣的輔助裝置,其在環保的領域中得到了廣泛的使用,而現有的脫銷劑干燥廢氣處理裝置在對廢氣進行處理對過程中,水將廢氣中的顆粒物一起帶入水泵中,可能堵塞水泵內部,影響水泵正常使用。
實用新型內容
本實用新型的目的在于提供一種脫銷劑干燥廢氣處理裝置,以解決上述技術問題。
本實用新型為解決上述技術問題,采用以下技術方案來實現:一種脫銷劑干燥廢氣處理裝置,包括除塵箱和水箱,所述除塵箱內表面的底部開設有第一連接槽,所述除塵箱外表面的底部固定連接有集水斗,所述集水斗的底部固定連接有第一連接管,所述第一連接管的一端延伸至所述水箱的內部,所述第一連接管外表面的中間固定連接有卡接組件,所述卡接組件的內部設置有過濾組件,所述過濾組件包括第一連接塊,所述第一連接塊的底部固定連接有濾網,所述第一連接塊的一側開設有卡槽,所述第一連接管外表面的底部且位于所述卡接組件的左側固定連接有集料箱,所述集料箱底部的中間固定連接有出料管,所述水箱的頂部固定連接有第二連接管,所述第二連接管的一端貫穿所述除塵箱且延伸至所述除塵箱的內部,所述第二連接管外表面的底部固定連接有噴頭。
通過在第一連接管中間位置設置卡接組件和過濾組件,過濾組件可對第一連接管中的廢水進行過濾,避免水夾雜著雜質直接進入水泵中,對水泵造成損害,影響水泵的正常使用,而濾網過濾下來的雜質則可進入集料箱中,避免雜質過多,堵塞第一連接管,影響水回流進水箱中。
進一步地,所述卡接組件包括第一固定環,所述第一固定環的內表面于所述第一連接管固定連接,所述第一固定環頂部的中間開設有放置槽,所述過濾組件設置于所述放置槽的內部。
進一步地,所述第一固定環外表面的右側設置有卡桿,所述卡桿的一端貫穿所述第一固定環且延伸至所述卡槽的內部。
進一步地,所述卡桿表面的右側固定連接有固定板,所述固定板與所述第一固定環的右側之間且位于所述卡桿的表面固定連接有彈簧。
通過卡桿卡在卡槽中,從而對過濾組件進行限位,避免過濾組件在放置槽中發生位置移動,影響對水的過濾,同時也方便將過濾組件取下,并對其進行清潔,保證濾網的過濾效果,避免雜質堵塞濾網網眼,影響水回流進水箱中。
進一步地,所述除塵箱的內部且位于所述第二連接管的底部固定連接有第二固定環,所述第二固定環內表面的左右兩側均開設有弧形槽。
進一步地,所述第二固定環頂部的左右兩側均開設有第二連接槽,所述第二連接槽內表面的一側與所述弧形槽連通。
進一步地,所述第二固定環的內部設置有活性炭板,所述活性炭板左右兩側的中間均固定連接有第二連接塊,所述第二連接塊的一端延伸至所述弧形槽的內部。
活性炭板通過第二連接塊卡在第二固定環內部,可對廢氣進行過濾,同時也方便工作人員將活性炭板從除塵箱中取出,并對其進行清潔或更換,保證活性炭板的過濾效果。
本實用新型的有益效果是:
本實用新型通過在第一連接管中間位置設置卡接組件和過濾組件,過濾組件可對第一連接管中的廢水進行過濾,避免水夾雜著雜質直接進入水泵中,對水泵造成損害,影響水泵的正常使用,而濾網過濾下來的雜質則可進入集料箱中,避免雜質過多,堵塞第一連接管,影響水回流進水箱中,同時通過卡桿卡在卡槽中,從而對過濾組件進行限位,避免過濾組件在放置槽中發生位置移動,影響對水的過濾,同時也方便將過濾組件取下,并對其進行清潔,保證濾網的過濾效果,避免雜質堵塞濾網網眼,影響水回流進水箱中。
附圖說明
圖1為本實用新型的內部結構示意圖;
圖2為本實用新型的第一連接管的內部結構局部示意圖;
圖3為本實用新型的第二固定環的外部結構俯視圖;
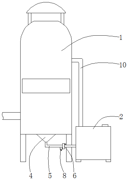
圖4為本實用新型的外部結構示意圖。
附圖標記:1-除塵箱、2-水箱、3-第一連接槽、4-集水斗、5-第一連接管、6-卡接組件、61-第一固定環、62-放置槽、63-卡桿、64-固定板、65-彈簧、7-過濾組件、71-第一連接塊、72-濾網、73-卡槽、8-集料箱、9-出料管、10-第二連接管、11-噴頭、12-第二固定環、13-弧形槽、14-第二連接槽、15-活性炭板、16-第二連接塊。
具體實施方式
為了使本實用新型實現的技術手段、創作特征、達成目的與功效易于明白了解,下面結合具體實施例和附圖,進一步闡述本實用新型,但下述實施例僅僅為本實用新型的優選實施例,并非全部。基于實施方式中的實施例,本領域技術人員在沒有做出創造性勞動的前提下所獲得其它實施例,都屬于本發明的保護范圍。
下面結合附圖描述本實用新型的具體實施例。
如圖1-4所示,一種脫銷劑干燥廢氣處理裝置,包括除塵箱1和水箱2,所述除塵箱1內表面的底部開設有第一連接槽3,所述除塵箱1外表面的底部固定連接有集水斗4,所述集水斗4的底部固定連接有第一連接管5,所述第一連接管5的一端延伸至所述水箱2的內部,所述第一連接管5外表面的中間固定連接有卡接組件6,所述卡接組件6的內部設置有過濾組件7,所述過濾組件7包括第一連接塊71,所述第一連接塊71的底部固定連接有濾網72,所述第一連接塊71的一側開設有卡槽73,所述第一連接管5外表面的底部且位于所述卡接組件6的左側固定連接有集料箱8,所述集料箱8底部的中間固定連接有出料管9,所述水箱2的頂部固定連接有第二連接管10,所述第二連接管10的一端貫穿所述除塵箱1且延伸至所述除塵箱1的內部,所述第二連接管10外表面的底部固定連接有噴頭11。
除塵箱1對底部焊接有支撐腿,支撐腿對底端是通過螺栓與水泥地面等固定在一起的,除塵箱1對外表面通過鉸鏈固定有箱門,箱門是與活性炭板15等大小適配的,方便將活性炭板15取出,水箱2頂部的右側開設有注水口,方便工作人員及時補水,第一連接槽3是圓臺形的,上大下小,方便水流出除塵箱1,集水斗4是漏斗狀的,頂部是焊接在除塵箱1的外表面對底部的,將第一連接槽3包裹在內部,第一連接管5的一端是與集水斗4焊接在一起的,另一端與水箱2焊接在一起,卡接組件6是焊接在第一連接管5表面的,過濾組件7通過卡接組件6固定在折第一連接管5上的,可以對水中的雜質進行過濾,避免雜質進入水泵內部,對水泵等造成損壞,同時也使水可循環使用,濾網72是通過螺栓固定在第一連接塊71的底部的,連接塊71和濾網72均是與放置槽62大小適配的槽,卡槽73是與卡桿63大小適配的槽,集料箱8是焊接在第一連接管5上的,方便對雜質進行收集儲存,避免雜質堆積在第一連接管5內部,影響第一連接管5流水,出料管9的頂端是與集料箱8的底部焊接在一起的,出料管9上設置有閥門,第一連接管5和第二連接管10都是折行管,第二連接管10延伸進除塵箱1的內部的一端是折行的,噴頭11是霧化噴頭,數量為若各干,是均勻排列的。
所述卡接組件6包括第一固定環61,所述第一固定環61的內表面于所述第一連接管5固定連接,所述第一固定環61頂部的中間開設有放置槽62,所述過濾組件7設置于所述放置槽62的內部。
第一固定環61與第一連接管5的外表面是焊接在一起的,通過將過濾組件7放置在放置槽62中,方便對過濾組件7進行限位。
所述第一固定環61外表面的右側設置有卡桿63,所述卡桿63的一端貫穿所述第一固定環61且延伸至所述卡槽73的內部。
卡桿63在第一固定環61上是滑動的,通過卡桿63的一端卡在卡槽73中,從而限制過濾組件7在放置槽62中的位置。
所述卡桿63表面的右側固定連接有固定板64,所述固定板64與所述第一固定環61的右側之間且位于所述卡桿63的表面固定連接有彈簧65。
固定板64是焊接在卡桿63的表面的,彈簧65是壓縮彈簧,具有良好的彈性,且彈簧65是套接在卡桿63的表面的。
所述除塵箱1的內部且位于所述第二連接管10的底部固定連接有第二固定環12,所述第二固定環12內表面的左右兩側均開設有弧形槽13。
第二固定環12的外表面是焊接在除塵箱1的內部的,與除塵箱1大小適配,弧形槽13的數量為2個,兩個弧形槽13是與第二連接塊16大小適配的槽。
所述第二固定環12頂部的左右兩側均開設有第二連接槽14,所述第二連接槽14內表面的一側與所述弧形槽13連通。
第二連接槽14也是與第二連接塊16大小適配的槽,活性炭板15可對廢氣中的雜質和有害物質進行過濾,一些顆粒較大的雜質會掉落下來。
所述第二固定環12的內部設置有活性炭板15,所述活性炭板15左右兩側的中間均固定連接有第二連接塊16,所述第二連接塊16的一端延伸至所述弧形槽13的內部。
工作原理:使用除塵箱1對脫銷劑干燥廢氣進行處理時,工作人員首先通過除塵箱1外表面的控制面板控制水箱2中的水泵啟動,之后水通過第二連接管10進入除塵箱1的內部,并通過噴頭11均勻的將水噴灑在除塵箱1中和活性炭板15上。
廢氣通過除塵箱1一側的進氣管進入除塵箱1的內部,在廢氣向上的過程中,與活性炭板15接觸,廢氣中的有害物質被活性炭板15過濾下來,之后廢氣通過除塵箱1頂部的開口直接排放到外界環境中,而噴頭11噴灑下來的水也將活性炭板15上夾雜的顆粒雜質等清洗下來,水通過集水斗4進入第一連接管5中,流經過濾組件7時,水中的雜質被濾網72過濾并掉落到集料箱8中,之后過濾后的水回流到水箱2中,通過在除塵箱1中設置活性炭板15,可以避免廢氣夾雜雜質等直接排放到外界環境中,對環境造成破壞,同時噴頭11噴灑出來的水可對活性炭板15進行清潔,使雜質等進入第一連接管5中,并在第一連接管5中被過濾組件7過濾,避免水夾雜著雜質進入水泵中,對水泵造成損害,影響水泵的正常使用。
當廢氣處理結束后,工作人員便可打開出料管9上的閥門,將集料箱8中過濾下來的雜質清理出來,同時拉動卡桿63,使卡桿63的一端從卡槽73中離開,之后便可將過濾組件7從放置槽62中取出,并對濾網72進行清洗,避免濾網72表面粘附過多雜質,影響水回流進水箱2中,濾網72清理結束后,工作人員便可再次拉動卡桿63,并將過濾組件7安裝回放置槽62中,之后松開手中的卡桿63,一直處于壓縮狀態的彈簧65需要恢復形變,從而將卡桿63的一端擠壓進卡槽73中,通過卡桿63卡在卡槽73中,從而對過濾組件7進行限位,避免過濾組件7在放置槽62中發生位置移動,影響對水的過濾,同時也方便將過濾組件7取下,并對其進行清潔,保證濾網72的過濾效果,避免雜質堵塞濾網72網眼,影響水回流進水箱2中。
之后工作人員還可打開箱門,然后轉動活性炭板15,使兩個第二連接塊16從弧形槽13中轉動到第二連接槽14中,之后便可將活性炭板15通過箱門將其取出,然后對活性炭板15進行更換或清潔,保證活性炭板15的過濾效果,避免廢氣中有害物質和雜質過濾不完全直接排放到外界環境中,對空氣造成污染。
在本實用新型中,除非另有明確的規定和限定,第一特征在第二特征之 “上”或之“下”可以包括第一和第二特征直接接觸,也可以包括第一和第二特征不是直接接觸而是通過它們之間的另外的特征接觸。而且,第一特征在第二特征“之上”、“上方”和“上面”包括第一特征在第二特征正上方和斜上方,或僅僅表示第一特征水平高度高于第二特征。第一特征在第二特征“之下”、“下方”和“下面”包括第一特征在第二特征正下方和斜下方,或僅僅表示第一特征水平高度小于第二特征。
以上顯示和描述了本實用新型的基本原理、主要特征和本實用新型的優點。本行業的技術人員應該了解,本實用新型不受上述實施例的限制,上述實施例和說明書中描述的僅為本實用新型的優選例,并不用來限制本實用新型,在不脫離本實用新型精神和范圍的前提下,本實用新型還會有各種變化和改進,這些變化和改進都落入要求保護的本實用新型范圍內。本實用新型要求保護范圍由所附的權利要求書及其等效物界定。
技術領域
本實用新型涉及環保領域,尤其涉及一種脫銷劑干燥廢氣處理裝置。
背景技術
廢氣處理又稱廢氣凈化,廢氣處理指的是針對工業場所、工廠車間產生的廢氣在對外排放前進行預處理,以達到國家廢氣對外排放的標準的工作,一般廢氣處理包括了有機廢氣處理、粉塵廢氣處理、酸堿廢氣處理、異味廢氣處理和空氣殺菌消毒凈化等方面。
脫銷劑干燥廢氣處理裝置是一種用于處理脫銷劑干燥廢氣的輔助裝置,其在環保的領域中得到了廣泛的使用,而現有的脫銷劑干燥廢氣處理裝置在對廢氣進行處理對過程中,水將廢氣中的顆粒物一起帶入水泵中,可能堵塞水泵內部,影響水泵正常使用。
實用新型內容
本實用新型的目的在于提供一種脫銷劑干燥廢氣處理裝置,以解決上述技術問題。
本實用新型為解決上述技術問題,采用以下技術方案來實現:一種脫銷劑干燥廢氣處理裝置,包括除塵箱和水箱,所述除塵箱內表面的底部開設有第一連接槽,所述除塵箱外表面的底部固定連接有集水斗,所述集水斗的底部固定連接有第一連接管,所述第一連接管的一端延伸至所述水箱的內部,所述第一連接管外表面的中間固定連接有卡接組件,所述卡接組件的內部設置有過濾組件,所述過濾組件包括第一連接塊,所述第一連接塊的底部固定連接有濾網,所述第一連接塊的一側開設有卡槽,所述第一連接管外表面的底部且位于所述卡接組件的左側固定連接有集料箱,所述集料箱底部的中間固定連接有出料管,所述水箱的頂部固定連接有第二連接管,所述第二連接管的一端貫穿所述除塵箱且延伸至所述除塵箱的內部,所述第二連接管外表面的底部固定連接有噴頭。
通過在第一連接管中間位置設置卡接組件和過濾組件,過濾組件可對第一連接管中的廢水進行過濾,避免水夾雜著雜質直接進入水泵中,對水泵造成損害,影響水泵的正常使用,而濾網過濾下來的雜質則可進入集料箱中,避免雜質過多,堵塞第一連接管,影響水回流進水箱中。
進一步地,所述卡接組件包括第一固定環,所述第一固定環的內表面于所述第一連接管固定連接,所述第一固定環頂部的中間開設有放置槽,所述過濾組件設置于所述放置槽的內部。
進一步地,所述第一固定環外表面的右側設置有卡桿,所述卡桿的一端貫穿所述第一固定環且延伸至所述卡槽的內部。
進一步地,所述卡桿表面的右側固定連接有固定板,所述固定板與所述第一固定環的右側之間且位于所述卡桿的表面固定連接有彈簧。
通過卡桿卡在卡槽中,從而對過濾組件進行限位,避免過濾組件在放置槽中發生位置移動,影響對水的過濾,同時也方便將過濾組件取下,并對其進行清潔,保證濾網的過濾效果,避免雜質堵塞濾網網眼,影響水回流進水箱中。
進一步地,所述除塵箱的內部且位于所述第二連接管的底部固定連接有第二固定環,所述第二固定環內表面的左右兩側均開設有弧形槽。
進一步地,所述第二固定環頂部的左右兩側均開設有第二連接槽,所述第二連接槽內表面的一側與所述弧形槽連通。
進一步地,所述第二固定環的內部設置有活性炭板,所述活性炭板左右兩側的中間均固定連接有第二連接塊,所述第二連接塊的一端延伸至所述弧形槽的內部。
活性炭板通過第二連接塊卡在第二固定環內部,可對廢氣進行過濾,同時也方便工作人員將活性炭板從除塵箱中取出,并對其進行清潔或更換,保證活性炭板的過濾效果。
本實用新型的有益效果是:
本實用新型通過在第一連接管中間位置設置卡接組件和過濾組件,過濾組件可對第一連接管中的廢水進行過濾,避免水夾雜著雜質直接進入水泵中,對水泵造成損害,影響水泵的正常使用,而濾網過濾下來的雜質則可進入集料箱中,避免雜質過多,堵塞第一連接管,影響水回流進水箱中,同時通過卡桿卡在卡槽中,從而對過濾組件進行限位,避免過濾組件在放置槽中發生位置移動,影響對水的過濾,同時也方便將過濾組件取下,并對其進行清潔,保證濾網的過濾效果,避免雜質堵塞濾網網眼,影響水回流進水箱中。
附圖說明
圖1為本實用新型的內部結構示意圖;
圖2為本實用新型的第一連接管的內部結構局部示意圖;
圖3為本實用新型的第二固定環的外部結構俯視圖;
圖4為本實用新型的外部結構示意圖。
附圖標記:1-除塵箱、2-水箱、3-第一連接槽、4-集水斗、5-第一連接管、6-卡接組件、61-第一固定環、62-放置槽、63-卡桿、64-固定板、65-彈簧、7-過濾組件、71-第一連接塊、72-濾網、73-卡槽、8-集料箱、9-出料管、10-第二連接管、11-噴頭、12-第二固定環、13-弧形槽、14-第二連接槽、15-活性炭板、16-第二連接塊。
具體實施方式
為了使本實用新型實現的技術手段、創作特征、達成目的與功效易于明白了解,下面結合具體實施例和附圖,進一步闡述本實用新型,但下述實施例僅僅為本實用新型的優選實施例,并非全部。基于實施方式中的實施例,本領域技術人員在沒有做出創造性勞動的前提下所獲得其它實施例,都屬于本發明的保護范圍。
下面結合附圖描述本實用新型的具體實施例。
如圖1-4所示,一種脫銷劑干燥廢氣處理裝置,包括除塵箱1和水箱2,所述除塵箱1內表面的底部開設有第一連接槽3,所述除塵箱1外表面的底部固定連接有集水斗4,所述集水斗4的底部固定連接有第一連接管5,所述第一連接管5的一端延伸至所述水箱2的內部,所述第一連接管5外表面的中間固定連接有卡接組件6,所述卡接組件6的內部設置有過濾組件7,所述過濾組件7包括第一連接塊71,所述第一連接塊71的底部固定連接有濾網72,所述第一連接塊71的一側開設有卡槽73,所述第一連接管5外表面的底部且位于所述卡接組件6的左側固定連接有集料箱8,所述集料箱8底部的中間固定連接有出料管9,所述水箱2的頂部固定連接有第二連接管10,所述第二連接管10的一端貫穿所述除塵箱1且延伸至所述除塵箱1的內部,所述第二連接管10外表面的底部固定連接有噴頭11。
除塵箱1對底部焊接有支撐腿,支撐腿對底端是通過螺栓與水泥地面等固定在一起的,除塵箱1對外表面通過鉸鏈固定有箱門,箱門是與活性炭板15等大小適配的,方便將活性炭板15取出,水箱2頂部的右側開設有注水口,方便工作人員及時補水,第一連接槽3是圓臺形的,上大下小,方便水流出除塵箱1,集水斗4是漏斗狀的,頂部是焊接在除塵箱1的外表面對底部的,將第一連接槽3包裹在內部,第一連接管5的一端是與集水斗4焊接在一起的,另一端與水箱2焊接在一起,卡接組件6是焊接在第一連接管5表面的,過濾組件7通過卡接組件6固定在折第一連接管5上的,可以對水中的雜質進行過濾,避免雜質進入水泵內部,對水泵等造成損壞,同時也使水可循環使用,濾網72是通過螺栓固定在第一連接塊71的底部的,連接塊71和濾網72均是與放置槽62大小適配的槽,卡槽73是與卡桿63大小適配的槽,集料箱8是焊接在第一連接管5上的,方便對雜質進行收集儲存,避免雜質堆積在第一連接管5內部,影響第一連接管5流水,出料管9的頂端是與集料箱8的底部焊接在一起的,出料管9上設置有閥門,第一連接管5和第二連接管10都是折行管,第二連接管10延伸進除塵箱1的內部的一端是折行的,噴頭11是霧化噴頭,數量為若各干,是均勻排列的。
所述卡接組件6包括第一固定環61,所述第一固定環61的內表面于所述第一連接管5固定連接,所述第一固定環61頂部的中間開設有放置槽62,所述過濾組件7設置于所述放置槽62的內部。
第一固定環61與第一連接管5的外表面是焊接在一起的,通過將過濾組件7放置在放置槽62中,方便對過濾組件7進行限位。
所述第一固定環61外表面的右側設置有卡桿63,所述卡桿63的一端貫穿所述第一固定環61且延伸至所述卡槽73的內部。
卡桿63在第一固定環61上是滑動的,通過卡桿63的一端卡在卡槽73中,從而限制過濾組件7在放置槽62中的位置。
所述卡桿63表面的右側固定連接有固定板64,所述固定板64與所述第一固定環61的右側之間且位于所述卡桿63的表面固定連接有彈簧65。
固定板64是焊接在卡桿63的表面的,彈簧65是壓縮彈簧,具有良好的彈性,且彈簧65是套接在卡桿63的表面的。
所述除塵箱1的內部且位于所述第二連接管10的底部固定連接有第二固定環12,所述第二固定環12內表面的左右兩側均開設有弧形槽13。
第二固定環12的外表面是焊接在除塵箱1的內部的,與除塵箱1大小適配,弧形槽13的數量為2個,兩個弧形槽13是與第二連接塊16大小適配的槽。
所述第二固定環12頂部的左右兩側均開設有第二連接槽14,所述第二連接槽14內表面的一側與所述弧形槽13連通。
第二連接槽14也是與第二連接塊16大小適配的槽,活性炭板15可對廢氣中的雜質和有害物質進行過濾,一些顆粒較大的雜質會掉落下來。
所述第二固定環12的內部設置有活性炭板15,所述活性炭板15左右兩側的中間均固定連接有第二連接塊16,所述第二連接塊16的一端延伸至所述弧形槽13的內部。
工作原理:使用除塵箱1對脫銷劑干燥廢氣進行處理時,工作人員首先通過除塵箱1外表面的控制面板控制水箱2中的水泵啟動,之后水通過第二連接管10進入除塵箱1的內部,并通過噴頭11均勻的將水噴灑在除塵箱1中和活性炭板15上。
廢氣通過除塵箱1一側的進氣管進入除塵箱1的內部,在廢氣向上的過程中,與活性炭板15接觸,廢氣中的有害物質被活性炭板15過濾下來,之后廢氣通過除塵箱1頂部的開口直接排放到外界環境中,而噴頭11噴灑下來的水也將活性炭板15上夾雜的顆粒雜質等清洗下來,水通過集水斗4進入第一連接管5中,流經過濾組件7時,水中的雜質被濾網72過濾并掉落到集料箱8中,之后過濾后的水回流到水箱2中,通過在除塵箱1中設置活性炭板15,可以避免廢氣夾雜雜質等直接排放到外界環境中,對環境造成破壞,同時噴頭11噴灑出來的水可對活性炭板15進行清潔,使雜質等進入第一連接管5中,并在第一連接管5中被過濾組件7過濾,避免水夾雜著雜質進入水泵中,對水泵造成損害,影響水泵的正常使用。
當廢氣處理結束后,工作人員便可打開出料管9上的閥門,將集料箱8中過濾下來的雜質清理出來,同時拉動卡桿63,使卡桿63的一端從卡槽73中離開,之后便可將過濾組件7從放置槽62中取出,并對濾網72進行清洗,避免濾網72表面粘附過多雜質,影響水回流進水箱2中,濾網72清理結束后,工作人員便可再次拉動卡桿63,并將過濾組件7安裝回放置槽62中,之后松開手中的卡桿63,一直處于壓縮狀態的彈簧65需要恢復形變,從而將卡桿63的一端擠壓進卡槽73中,通過卡桿63卡在卡槽73中,從而對過濾組件7進行限位,避免過濾組件7在放置槽62中發生位置移動,影響對水的過濾,同時也方便將過濾組件7取下,并對其進行清潔,保證濾網72的過濾效果,避免雜質堵塞濾網72網眼,影響水回流進水箱2中。
之后工作人員還可打開箱門,然后轉動活性炭板15,使兩個第二連接塊16從弧形槽13中轉動到第二連接槽14中,之后便可將活性炭板15通過箱門將其取出,然后對活性炭板15進行更換或清潔,保證活性炭板15的過濾效果,避免廢氣中有害物質和雜質過濾不完全直接排放到外界環境中,對空氣造成污染。
在本實用新型中,除非另有明確的規定和限定,第一特征在第二特征之 “上”或之“下”可以包括第一和第二特征直接接觸,也可以包括第一和第二特征不是直接接觸而是通過它們之間的另外的特征接觸。而且,第一特征在第二特征“之上”、“上方”和“上面”包括第一特征在第二特征正上方和斜上方,或僅僅表示第一特征水平高度高于第二特征。第一特征在第二特征“之下”、“下方”和“下面”包括第一特征在第二特征正下方和斜下方,或僅僅表示第一特征水平高度小于第二特征。
以上顯示和描述了本實用新型的基本原理、主要特征和本實用新型的優點。本行業的技術人員應該了解,本實用新型不受上述實施例的限制,上述實施例和說明書中描述的僅為本實用新型的優選例,并不用來限制本實用新型,在不脫離本實用新型精神和范圍的前提下,本實用新型還會有各種變化和改進,這些變化和改進都落入要求保護的本實用新型范圍內。本實用新型要求保護范圍由所附的權利要求書及其等效物界定。

圖 1

圖 2

圖 3

圖 4



