?

實用專利
一種脫硫使用的石灰漿反應裝置
日期:2020-09-14 15:06瀏覽次數:
說 明 書 摘 要
本實用新型提供一種脫硫使用的石灰漿反應裝置,涉及脫硫技術領域,包括底板,所述底板頂部的兩側均固定連接有伸縮桿,所述伸縮桿的頂端固定連接有反應箱,所述底板的頂部且位于伸縮桿的一側通過支撐桿轉動連接有齒輪,所述齒輪的正面套設有第二傳動輪。本實用新型通過第一電機和第二電機的啟動,當第一電機啟動時,可間接通過攪拌軸使得攪拌桿對石灰和回水進行攪拌,當第二電機啟動時,可間接通過第一傳動輪帶動第二傳動輪進行旋轉,通過第二傳動輪的旋轉可間接帶動齒輪旋轉,由于齒輪與齒牙嚙合,齒牙固定在反應箱的一側,這時,反應箱就會上下移動,通過反應箱的來回移動,可加快石灰和回水的攪拌速率。

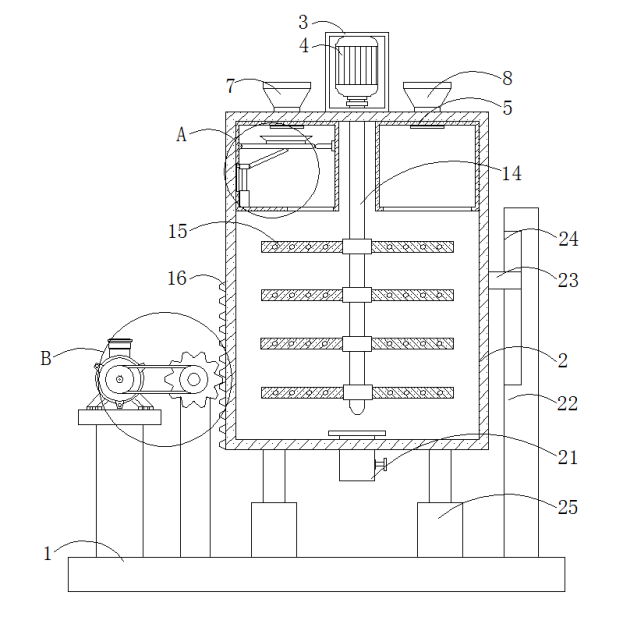
1.一種脫硫使用的石灰漿反應裝置,其特征在于:包括底板(1),所述底板(1)頂部的兩側均固定連接有伸縮桿(25),所述伸縮桿(25)的頂端固定連接有反應箱(2),所述底板(1)的頂部且位于伸縮桿(25)的一側通過支撐桿轉動連接有齒輪(18),所述齒輪(18)的正面套設有第二傳動輪(20),所述底板(1)的頂部且位于齒輪(18)的一側通過支撐板固定連接有第二電機(17),所述第二電機(17)的正面套設有第一傳動輪(19),所述第一傳動輪(19)的外表面與第二傳動輪(20)的外表面通過皮帶傳動連接,所述反應箱(2)的一側固定連接有與齒輪(18)嚙合的齒牙(16),所述底板(1)的頂部且位于伸縮桿(25)的另一側固定連接有立柱(22),所述反應箱(2)的另一側固定連接有滑桿(23),所述立柱(22)的內部開設有與滑桿(23)配合使用的滑槽(24),所述反應箱(2)的頂部固定連接有電機箱(3),所述電機箱(3)內壁的頂部固定連接有第一電機(4),所述第一電機(4)輸出軸的外表面通過聯軸器固定連接有攪拌軸(14),所述攪拌軸(14)的另一端依次貫穿電機箱(3)和反應箱(2)并延伸至反應箱(2)的內部。
2.根據權利要求1所述的一種脫硫使用的石灰漿反應裝置,其特征在于:所述攪拌軸(14)延伸至反應箱(2)內部移動的兩側均固定連接有攪拌桿(15)。
3.根據權利要求1所述的一種脫硫使用的石灰漿反應裝置,其特征在于:所述反應箱(2)內壁的一側固定連接有回水進料箱(5),所述反應箱(2)頂部的一側固定連接有與回水進料箱(5)配合使用的回水進料斗(8)。
4.根據權利要求3所述的一種脫硫使用的石灰漿反應裝置,其特征在于:所述反應箱(2)內壁的另一側固定連接有石灰進料箱(6),所述反應箱(2)頂部的另一側固定連接有與石灰進料箱(6)配合使用的石灰進料斗(7)。
5.根據權利要求4所述的一種脫硫使用的石灰漿反應裝置,其特征在于:所述石灰進料箱(6)內壁的一側通過銷釘活動連接有下料板(9),所述下料板(9)的頂部固定連接有電子秤(10),所述石灰進料箱(6)內壁的另一側固定連接有配合下料板(9)使用的輔助板,所述石灰進料箱(6)內壁底部的一側固定連接有電動推桿(11)。
6.根據權利要求5所述的一種脫硫使用的石灰漿反應裝置,其特征在于:所述電動推桿(11)的頂端固定連接有頂塊(12),所述頂塊(12)的一側通過銷釘活動連接有連接桿(13),所述連接桿(13)的另一端通過銷釘與下料板(9)的底部活動連接。
7.根據權利要求1所述的一種脫硫使用的石灰漿反應裝置,其特征在于:所述反應箱(2)的底部固定連接有出料管(21)。
2.根據權利要求1所述的一種脫硫使用的石灰漿反應裝置,其特征在于:所述攪拌軸(14)延伸至反應箱(2)內部移動的兩側均固定連接有攪拌桿(15)。
3.根據權利要求1所述的一種脫硫使用的石灰漿反應裝置,其特征在于:所述反應箱(2)內壁的一側固定連接有回水進料箱(5),所述反應箱(2)頂部的一側固定連接有與回水進料箱(5)配合使用的回水進料斗(8)。
4.根據權利要求3所述的一種脫硫使用的石灰漿反應裝置,其特征在于:所述反應箱(2)內壁的另一側固定連接有石灰進料箱(6),所述反應箱(2)頂部的另一側固定連接有與石灰進料箱(6)配合使用的石灰進料斗(7)。
5.根據權利要求4所述的一種脫硫使用的石灰漿反應裝置,其特征在于:所述石灰進料箱(6)內壁的一側通過銷釘活動連接有下料板(9),所述下料板(9)的頂部固定連接有電子秤(10),所述石灰進料箱(6)內壁的另一側固定連接有配合下料板(9)使用的輔助板,所述石灰進料箱(6)內壁底部的一側固定連接有電動推桿(11)。
6.根據權利要求5所述的一種脫硫使用的石灰漿反應裝置,其特征在于:所述電動推桿(11)的頂端固定連接有頂塊(12),所述頂塊(12)的一側通過銷釘活動連接有連接桿(13),所述連接桿(13)的另一端通過銷釘與下料板(9)的底部活動連接。
7.根據權利要求1所述的一種脫硫使用的石灰漿反應裝置,其特征在于:所述反應箱(2)的底部固定連接有出料管(21)。
一種脫硫使用的石灰漿反應裝置
技術領域
本實用新型涉及脫硫技術領域,尤其涉及一種脫硫使用的石灰漿反應裝置。
背景技術
在對大氣質量造成影響的各種氣態污染物中,二氧化硫煙氣的數量最多,影響最廣,工業生產過程排放的二氧化硫煙氣中的二氧化硫濃度較高且含有大量的粉塵,石灰石石膏濕法煙氣脫硫是目前燃煤火電廠煙氣脫硫應用最廣泛的方法;采用石灰石漿液作脫硫吸收劑,吸收漿液與煙氣接觸混合后,煙氣中的二氧化硫與漿液中的碳酸鈣進行化學反應,二氧化硫與漿液中的碳酸鈣反應后形成石膏,從而讓二氧化硫從而煙氣中脫離,實現濕法脫硫。
現有技術中的脫硫使用的石灰漿反應裝置在對石灰和回水進行攪拌時,不能夠對其進行充分攪拌,從而降低了裝置整體的生產效率,給工作人員的使用帶來許多不便。
實用新型內容
本實用新型的目的在于提供一種脫硫使用的石灰漿反應裝置,以解決上述技術問題。
本實用新型為解決上述技術問題,采用以下技術方案來實現:一種脫硫使用的石灰漿反應裝置包括底板,所述底板頂部的兩側均固定連接有伸縮桿,所述伸縮桿的頂端固定連接有反應箱,所述底板的頂部且位于伸縮桿的一側通過支撐桿轉動連接有齒輪,所述齒輪的正面套設有第二傳動輪,所述底板的頂部且位于齒輪的一側通過支撐板固定連接有第二電機,所述第二電機的正面套設有第一傳動輪,所述第一傳動輪的外表面與第二傳動輪的外表面通過皮帶傳動連接,所述反應箱的一側固定連接有與齒輪嚙合的齒牙,所述底板的頂部且位于伸縮桿的另一側固定連接有立柱,所述反應箱的另一側固定連接有滑桿,所述立柱的內部開設有與滑桿配合使用的滑槽,所述反應箱的頂部固定連接有電機箱,所述電機箱內壁的頂部固定連接有第一電機,所述第一電機輸出軸的外表面通過聯軸器固定連接有攪拌軸,所述攪拌軸的另一端依次貫穿電機箱和反應箱并延伸至反應箱的內部。
本裝置第一電機和第二電機的通電方式均為外接電源,第一電機和第二電機均為伺服電機,并且本裝置反應箱石灰進料箱處設置有透明可視窗,可方便對石灰進行定量加料。
進一步地,所述攪拌軸延伸至反應箱內部移動的兩側均固定連接有攪拌桿。
攪拌桿對稱分布在攪拌軸的兩側。
進一步地,所述反應箱內壁的一側固定連接有回水進料箱,所述反應箱頂部的一側固定連接有與回水進料箱配合使用的回水進料斗。
回水進料箱分布在攪拌軸一側的頂部。
進一步地,所述反應箱內壁的另一側固定連接有石灰進料箱,所述反應箱頂部的另一側固定連接有與石灰進料箱配合使用的石灰進料斗。
石灰進料箱分布在攪拌軸另一側的頂部,石灰進料箱與回水進料箱呈對稱分布。
進一步地,所述石灰進料箱內壁的一側通過銷釘活動連接有下料板,所述下料板的頂部固定連接有電子秤,所述石灰進料箱內壁的另一側固定連接有配合下料板使用的輔助板,所述石灰進料箱內壁底部的一側固定連接有電動推桿。
下料板的另一側與輔助板的一側相抵觸。
進一步地,所述電動推桿的頂端固定連接有頂塊,所述頂塊的一側通過銷釘活動連接有連接桿,所述連接桿的另一端通過銷釘與下料板的底部活動連接。
電動推桿的通電方式為外接電源。
進一步地,所述反應箱的底部固定連接有出料管。
出料管位于兩個伸縮桿之間。
本實用新型的有益效果是:
本實用新型通過第一電機和第二電機的啟動,當第一電機啟動時,可間接通過攪拌軸使得攪拌桿對石灰和回水進行攪拌,當第二電機啟動時,可間接通過第一傳動輪帶動第二傳動輪進行旋轉,通過第二傳動輪的旋轉可間接帶動齒輪旋轉,由于齒輪與齒牙嚙合,齒牙固定在反應箱的一側,這時,反應箱就會上下移動,通過反應箱的來回移動,可加快石灰和回水的攪拌速率,使得石灰與回收的接觸面積增大,從而可提高裝置整體的生產速率,進而為工作人員的使用提供了極大的便捷,便于對其進行推廣。
附圖說明
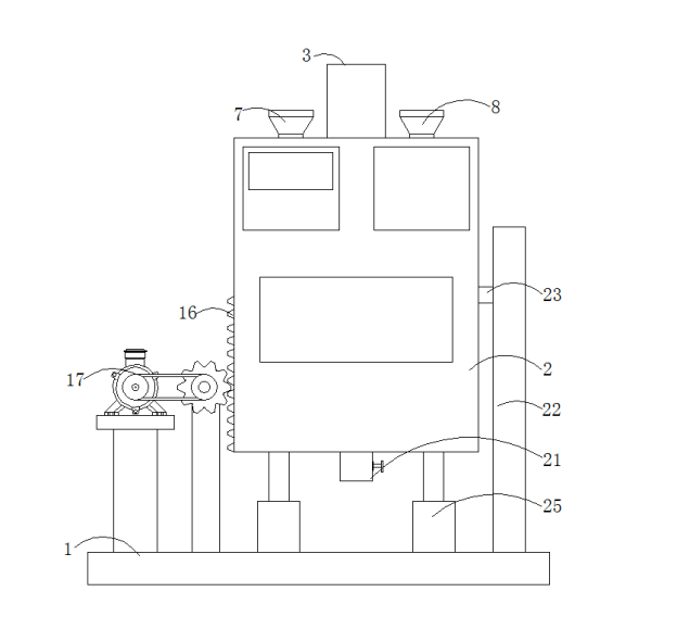
圖1為本實用新型的結構示意圖;
圖2為本實用新型的A處局部放大圖;
圖3為本實用新型的B處局部放大圖;
圖4為本實用新型的外部圖。
附圖標記:1-底板、2-反應箱、3-電機箱、4-第一電機、5-回水進料箱、6-石灰進料箱、7-石灰進料斗、8-回水進料斗、9-下料板、10-電子秤、11-電動推桿、12-頂塊、13-連接桿、14-攪拌軸、15-攪拌桿、16-齒牙、17-第二電機、18-齒輪、19-第一傳動輪、20-第一傳動輪、21-出料管、22-立柱、23-滑桿、24-滑槽、25-伸縮桿。
具體實施方式
為了使本實用新型實現的技術手段、創作特征、達成目的與功效易于明白了解,下面結合具體實施例和附圖,進一步闡述本實用新型,但下述實施例僅僅為本實用新型的優選實施例,并非全部。基于實施方式中的實施例,本領域技術人員在沒有做出創造性勞動的前提下所獲得其它實施例,都屬于本發明的保護范圍。
下面結合附圖描述本實用新型的具體實施例。
如圖1-4所示,一種脫硫使用的石灰漿反應裝置,包括底板1,所述底板1頂部的兩側均固定連接有伸縮桿25,所述伸縮桿25的頂端固定連接有反應箱2,所述底板1的頂部且位于伸縮桿25的一側通過支撐桿轉動連接有齒輪18,所述齒輪18的正面套設有第二傳動輪20,所述底板1的頂部且位于齒輪18的一側通過支撐板固定連接有第二電機17,所述第二電機17的正面套設有第一傳動輪19,所述第一傳動輪19的外表面與第二傳動輪20的外表面通過皮帶傳動連接,所述反應箱2的一側固定連接有與齒輪18嚙合的齒牙16,所述底板1的頂部且位于伸縮桿25的另一側固定連接有立柱22,所述反應箱2的另一側固定連接有滑桿23,所述立柱22的內部開設有與滑桿23配合使用的滑槽24,所述反應箱2的頂部固定連接有電機箱3,所述電機箱3內壁的頂部固定連接有第一電機4,所述第一電機4輸出軸的外表面通過聯軸器固定連接有攪拌軸14,所述攪拌軸14的另一端依次貫穿電機箱3和反應箱2并延伸至反應箱2的內部。
本實用新型的反應箱2的另一側固定有滑桿23,通過滑桿23與滑槽24的配合使用,可提高反應箱2運動時的穩定性,并且本裝置通過在石灰進料箱6的內部設置下料板9、電子秤10、輔助板、電動推桿11、頂塊12和連接桿13等,可實現石灰的定量進料,從而可方便工作人員的使用。
所述攪拌軸14延伸至反應箱2內部移動的兩側均固定連接有攪拌桿15。
攪拌桿15的內部設置有攪拌孔,通過攪拌孔的設置,可方便對石灰和回水進行充分攪拌。
所述反應箱2內壁的一側固定連接有回水進料箱5,所述反應箱2頂部的一側固定連接有與回水進料箱5配合使用的回水進料斗8。
回水進料箱5內部設置有出口,通過出口的設置,可方便回水進行反應箱2的內部。
所述反應箱2內壁的另一側固定連接有石灰進料箱6,所述反應箱2頂部的另一側固定連接有與石灰進料箱6配合使用的石灰進料斗7。
石灰進料箱6的內部設置有通口,通過通口的設置,可方便石灰進入反應箱2的內部。
所述石灰進料箱6內壁的一側通過銷釘活動連接有下料板9,所述下料板9的頂部固定連接有電子秤10,所述石灰進料箱6內壁的另一側固定連接有配合下料板9使用的輔助板,所述石灰進料箱6內壁底部的一側固定連接有電動推桿11。
通過電子秤10的設置,可方便對石灰進行定量稱取,可便于石灰的定量進料。
所述電動推桿11的頂端固定連接有頂塊12,所述頂塊12的一側通過銷釘活動連接有連接桿13,所述連接桿13的另一端通過銷釘與下料板9的底部活動連接。
頂塊12的一側固定有輔助塊,石灰進料箱6的內部設置有配合輔助塊使用的輔助槽,通過輔助槽和輔助塊的配合使用,可提高頂塊12運動時的穩定性。
所述反應箱2的底部固定連接有出料管21。
出料管21上設置有閥門,通過閥門的設置,可便于石灰漿的下料。
工作原理:在使用時,將石灰通過石灰進料斗7使其進入石灰進料箱6的內部,通過電子秤10稱取實際工作所需要的石灰,石灰稱取完成后,啟動電動推桿11,使得電動推桿11縮短,這時,下料板9就會向下傾斜,石灰就會進入反應箱2的內部,同時,回水通過回水進料斗8進入回水進料箱5的內部,通過回水進料箱5可進入反應箱2的內部;
石灰和回水添加完成后,啟動第一電機4和第二電機17,第一電機4啟動時,攪拌軸14就會進行旋轉,通過攪拌軸14的旋轉可間接帶動攪拌桿15對石灰和回水進行攪拌,可加快反應速率;
第二電機17啟動時,就會帶動第一傳動輪19進行旋轉,由于第一傳動輪19的外表面與第二傳動輪20的外表面通過皮帶傳動連接,通過皮帶傳動作用可間接帶動第二傳動輪10進行旋轉,這時,齒輪18就會進行旋轉,通過齒輪18與反應箱2一側的齒牙16嚙合,通過嚙合作用,可帶動反應箱2上下移動,從而可進一步加快石灰與回水的反應速率,反應完成后,石灰漿可通過出料管21處排出。
在本實用新型中,除非另有明確的規定和限定,第一特征在第二特征之 “上”或之“下”可以包括第一和第二特征直接接觸,也可以包括第一和第二特征不是直接接觸而是通過它們之間的另外的特征接觸。而且,第一特征在第二特征“之上”、“上方”和“上面”包括第一特征在第二特征正上方和斜上方,或僅僅表示第一特征水平高度高于第二特征。第一特征在第二特征“之下”、“下方”和“下面”包括第一特征在第二特征正下方和斜下方,或僅僅表示第一特征水平高度小于第二特征。
以上顯示和描述了本實用新型的基本原理、主要特征和本實用新型的優點。本行業的技術人員應該了解,本實用新型不受上述實施例的限制,上述實施例和說明書中描述的僅為本實用新型的優選例,并不用來限制本實用新型,在不脫離本實用新型精神和范圍的前提下,本實用新型還會有各種變化和改進,這些變化和改進都落入要求保護的本實用新型范圍內。本實用新型要求保護范圍由所附的權利要求書及其等效物界定。
技術領域
本實用新型涉及脫硫技術領域,尤其涉及一種脫硫使用的石灰漿反應裝置。
背景技術
在對大氣質量造成影響的各種氣態污染物中,二氧化硫煙氣的數量最多,影響最廣,工業生產過程排放的二氧化硫煙氣中的二氧化硫濃度較高且含有大量的粉塵,石灰石石膏濕法煙氣脫硫是目前燃煤火電廠煙氣脫硫應用最廣泛的方法;采用石灰石漿液作脫硫吸收劑,吸收漿液與煙氣接觸混合后,煙氣中的二氧化硫與漿液中的碳酸鈣進行化學反應,二氧化硫與漿液中的碳酸鈣反應后形成石膏,從而讓二氧化硫從而煙氣中脫離,實現濕法脫硫。
現有技術中的脫硫使用的石灰漿反應裝置在對石灰和回水進行攪拌時,不能夠對其進行充分攪拌,從而降低了裝置整體的生產效率,給工作人員的使用帶來許多不便。
實用新型內容
本實用新型的目的在于提供一種脫硫使用的石灰漿反應裝置,以解決上述技術問題。
本實用新型為解決上述技術問題,采用以下技術方案來實現:一種脫硫使用的石灰漿反應裝置包括底板,所述底板頂部的兩側均固定連接有伸縮桿,所述伸縮桿的頂端固定連接有反應箱,所述底板的頂部且位于伸縮桿的一側通過支撐桿轉動連接有齒輪,所述齒輪的正面套設有第二傳動輪,所述底板的頂部且位于齒輪的一側通過支撐板固定連接有第二電機,所述第二電機的正面套設有第一傳動輪,所述第一傳動輪的外表面與第二傳動輪的外表面通過皮帶傳動連接,所述反應箱的一側固定連接有與齒輪嚙合的齒牙,所述底板的頂部且位于伸縮桿的另一側固定連接有立柱,所述反應箱的另一側固定連接有滑桿,所述立柱的內部開設有與滑桿配合使用的滑槽,所述反應箱的頂部固定連接有電機箱,所述電機箱內壁的頂部固定連接有第一電機,所述第一電機輸出軸的外表面通過聯軸器固定連接有攪拌軸,所述攪拌軸的另一端依次貫穿電機箱和反應箱并延伸至反應箱的內部。
本裝置第一電機和第二電機的通電方式均為外接電源,第一電機和第二電機均為伺服電機,并且本裝置反應箱石灰進料箱處設置有透明可視窗,可方便對石灰進行定量加料。
進一步地,所述攪拌軸延伸至反應箱內部移動的兩側均固定連接有攪拌桿。
攪拌桿對稱分布在攪拌軸的兩側。
進一步地,所述反應箱內壁的一側固定連接有回水進料箱,所述反應箱頂部的一側固定連接有與回水進料箱配合使用的回水進料斗。
回水進料箱分布在攪拌軸一側的頂部。
進一步地,所述反應箱內壁的另一側固定連接有石灰進料箱,所述反應箱頂部的另一側固定連接有與石灰進料箱配合使用的石灰進料斗。
石灰進料箱分布在攪拌軸另一側的頂部,石灰進料箱與回水進料箱呈對稱分布。
進一步地,所述石灰進料箱內壁的一側通過銷釘活動連接有下料板,所述下料板的頂部固定連接有電子秤,所述石灰進料箱內壁的另一側固定連接有配合下料板使用的輔助板,所述石灰進料箱內壁底部的一側固定連接有電動推桿。
下料板的另一側與輔助板的一側相抵觸。
進一步地,所述電動推桿的頂端固定連接有頂塊,所述頂塊的一側通過銷釘活動連接有連接桿,所述連接桿的另一端通過銷釘與下料板的底部活動連接。
電動推桿的通電方式為外接電源。
進一步地,所述反應箱的底部固定連接有出料管。
出料管位于兩個伸縮桿之間。
本實用新型的有益效果是:
本實用新型通過第一電機和第二電機的啟動,當第一電機啟動時,可間接通過攪拌軸使得攪拌桿對石灰和回水進行攪拌,當第二電機啟動時,可間接通過第一傳動輪帶動第二傳動輪進行旋轉,通過第二傳動輪的旋轉可間接帶動齒輪旋轉,由于齒輪與齒牙嚙合,齒牙固定在反應箱的一側,這時,反應箱就會上下移動,通過反應箱的來回移動,可加快石灰和回水的攪拌速率,使得石灰與回收的接觸面積增大,從而可提高裝置整體的生產速率,進而為工作人員的使用提供了極大的便捷,便于對其進行推廣。
附圖說明
圖1為本實用新型的結構示意圖;
圖2為本實用新型的A處局部放大圖;
圖3為本實用新型的B處局部放大圖;
圖4為本實用新型的外部圖。
附圖標記:1-底板、2-反應箱、3-電機箱、4-第一電機、5-回水進料箱、6-石灰進料箱、7-石灰進料斗、8-回水進料斗、9-下料板、10-電子秤、11-電動推桿、12-頂塊、13-連接桿、14-攪拌軸、15-攪拌桿、16-齒牙、17-第二電機、18-齒輪、19-第一傳動輪、20-第一傳動輪、21-出料管、22-立柱、23-滑桿、24-滑槽、25-伸縮桿。
具體實施方式
為了使本實用新型實現的技術手段、創作特征、達成目的與功效易于明白了解,下面結合具體實施例和附圖,進一步闡述本實用新型,但下述實施例僅僅為本實用新型的優選實施例,并非全部。基于實施方式中的實施例,本領域技術人員在沒有做出創造性勞動的前提下所獲得其它實施例,都屬于本發明的保護范圍。
下面結合附圖描述本實用新型的具體實施例。
如圖1-4所示,一種脫硫使用的石灰漿反應裝置,包括底板1,所述底板1頂部的兩側均固定連接有伸縮桿25,所述伸縮桿25的頂端固定連接有反應箱2,所述底板1的頂部且位于伸縮桿25的一側通過支撐桿轉動連接有齒輪18,所述齒輪18的正面套設有第二傳動輪20,所述底板1的頂部且位于齒輪18的一側通過支撐板固定連接有第二電機17,所述第二電機17的正面套設有第一傳動輪19,所述第一傳動輪19的外表面與第二傳動輪20的外表面通過皮帶傳動連接,所述反應箱2的一側固定連接有與齒輪18嚙合的齒牙16,所述底板1的頂部且位于伸縮桿25的另一側固定連接有立柱22,所述反應箱2的另一側固定連接有滑桿23,所述立柱22的內部開設有與滑桿23配合使用的滑槽24,所述反應箱2的頂部固定連接有電機箱3,所述電機箱3內壁的頂部固定連接有第一電機4,所述第一電機4輸出軸的外表面通過聯軸器固定連接有攪拌軸14,所述攪拌軸14的另一端依次貫穿電機箱3和反應箱2并延伸至反應箱2的內部。
本實用新型的反應箱2的另一側固定有滑桿23,通過滑桿23與滑槽24的配合使用,可提高反應箱2運動時的穩定性,并且本裝置通過在石灰進料箱6的內部設置下料板9、電子秤10、輔助板、電動推桿11、頂塊12和連接桿13等,可實現石灰的定量進料,從而可方便工作人員的使用。
所述攪拌軸14延伸至反應箱2內部移動的兩側均固定連接有攪拌桿15。
攪拌桿15的內部設置有攪拌孔,通過攪拌孔的設置,可方便對石灰和回水進行充分攪拌。
所述反應箱2內壁的一側固定連接有回水進料箱5,所述反應箱2頂部的一側固定連接有與回水進料箱5配合使用的回水進料斗8。
回水進料箱5內部設置有出口,通過出口的設置,可方便回水進行反應箱2的內部。
所述反應箱2內壁的另一側固定連接有石灰進料箱6,所述反應箱2頂部的另一側固定連接有與石灰進料箱6配合使用的石灰進料斗7。
石灰進料箱6的內部設置有通口,通過通口的設置,可方便石灰進入反應箱2的內部。
所述石灰進料箱6內壁的一側通過銷釘活動連接有下料板9,所述下料板9的頂部固定連接有電子秤10,所述石灰進料箱6內壁的另一側固定連接有配合下料板9使用的輔助板,所述石灰進料箱6內壁底部的一側固定連接有電動推桿11。
通過電子秤10的設置,可方便對石灰進行定量稱取,可便于石灰的定量進料。
所述電動推桿11的頂端固定連接有頂塊12,所述頂塊12的一側通過銷釘活動連接有連接桿13,所述連接桿13的另一端通過銷釘與下料板9的底部活動連接。
頂塊12的一側固定有輔助塊,石灰進料箱6的內部設置有配合輔助塊使用的輔助槽,通過輔助槽和輔助塊的配合使用,可提高頂塊12運動時的穩定性。
所述反應箱2的底部固定連接有出料管21。
出料管21上設置有閥門,通過閥門的設置,可便于石灰漿的下料。
工作原理:在使用時,將石灰通過石灰進料斗7使其進入石灰進料箱6的內部,通過電子秤10稱取實際工作所需要的石灰,石灰稱取完成后,啟動電動推桿11,使得電動推桿11縮短,這時,下料板9就會向下傾斜,石灰就會進入反應箱2的內部,同時,回水通過回水進料斗8進入回水進料箱5的內部,通過回水進料箱5可進入反應箱2的內部;
石灰和回水添加完成后,啟動第一電機4和第二電機17,第一電機4啟動時,攪拌軸14就會進行旋轉,通過攪拌軸14的旋轉可間接帶動攪拌桿15對石灰和回水進行攪拌,可加快反應速率;
第二電機17啟動時,就會帶動第一傳動輪19進行旋轉,由于第一傳動輪19的外表面與第二傳動輪20的外表面通過皮帶傳動連接,通過皮帶傳動作用可間接帶動第二傳動輪10進行旋轉,這時,齒輪18就會進行旋轉,通過齒輪18與反應箱2一側的齒牙16嚙合,通過嚙合作用,可帶動反應箱2上下移動,從而可進一步加快石灰與回水的反應速率,反應完成后,石灰漿可通過出料管21處排出。
在本實用新型中,除非另有明確的規定和限定,第一特征在第二特征之 “上”或之“下”可以包括第一和第二特征直接接觸,也可以包括第一和第二特征不是直接接觸而是通過它們之間的另外的特征接觸。而且,第一特征在第二特征“之上”、“上方”和“上面”包括第一特征在第二特征正上方和斜上方,或僅僅表示第一特征水平高度高于第二特征。第一特征在第二特征“之下”、“下方”和“下面”包括第一特征在第二特征正下方和斜下方,或僅僅表示第一特征水平高度小于第二特征。
以上顯示和描述了本實用新型的基本原理、主要特征和本實用新型的優點。本行業的技術人員應該了解,本實用新型不受上述實施例的限制,上述實施例和說明書中描述的僅為本實用新型的優選例,并不用來限制本實用新型,在不脫離本實用新型精神和范圍的前提下,本實用新型還會有各種變化和改進,這些變化和改進都落入要求保護的本實用新型范圍內。本實用新型要求保護范圍由所附的權利要求書及其等效物界定。

圖 1

圖 2

圖 3

圖 4



